Микросхема к174ха10 описание и схема включения - смотри 60 фото

Найдено фото: 60

Форум РадиоКот :: Просмотр темы - Как сделать широкополосный захват эфира? Прием
МИКРОСХЕМЫ К174ХА2 И К174УРЗ
Схема ресивера: найдено 86 изображений
A283d аналоги - TouristMaps.ru
Микросхема к174ха2 описание и схема включения
К174ха10 описание и схема включения - Фото подборки 2
Контент kursant596 - Форум по радиоэлектронике
Контент STEN50 - Страница 423 - Форум по радиоэлектронике
Микросхема к174ха10 описание и схема включения
Контент Xorochii - Страница 8 - Форум по радиоэлектронике
Схема радиоприёмника на телевизионных микросхемах Схемотехника, Электронная схем
СВ, ДВ приемник на микросхеме, схема СВ, ДВ приемника Радио, Электронная схема,
Усилитель звука на советской микросхеме К174ХА10 Усилители звука, Усилитель, Зву
БП радиоприемник стр 2 : Guns.ru Talks
Форум РадиоКот * Просмотр темы - Проверьте пожалуйста плату
Микросхема к174ха10 схема включения: К174ХА10 - многофункциональная микросхема д
2.4.1. Радиоприемные устройства AM сигналов высокой чувствительности Техническая
К174Ха14: Микросхема К174ХА14 - Производство и поставка электростанций, Бензинов
К174Ха6 схема включения: К174ХА6 - многофункциональная микросхема - DataSheet -
К174Ха6 схема включения: К174ХА6 - многофункциональная микросхема - DataSheet -
Экспериментальный приемник сигналов РБУ 66 кГц
Форум РадиоКот :: Просмотр темы - Передатчик на логических элементах
Радиоприёмник На К174Ха10 - Начинающим - Форум по радиоэлектронике
Приемник ам ссб на к174ха2 схема
Простой радиоприемник на микросхеме К174ХА10
Микросхема к174пс1: найдено 83 изображений
Схема включения к174ха10: К174ХА10 - многофункциональная микросхема для однокрис
К174ХА10 - многофункциональная микросхема для однокристального AM - ЧМ приемника
К174ХА2, К174ХА02 - многофункциональные микросхемы - DataSheet
К174ХА26 - преобразователь, ограничитель, детектор, предварительный усилитель ча
К174ХА27 - схема коррекции сигналов цветности - DataSheet
К174ПС1, КФ174ПС1 - двойные балансные смесители - DataSheet
К174УР4 - тракт обработки сигналов промежуточной частоты - DataSheet
К174ГЛ1, К174ГЛ1А - генераторы колебаний - DataSheet
К174ХА10 - многофункциональная микросхема для однокристального AM - ЧМ приемника
Микросхема к174ха2 описание и схема включения
К174ХА10 - многофункциональная микросхема для однокристального AM - ЧМ приемника
К174ХА6 - многофункциональная микросхема - DataSheet
К174ХА8 - электронный коммутатор - DataSheet
К174ха10 описание и схема
можно ли заменить в этой схеме к174ха10 на к174ха11??? - Спрашивалка
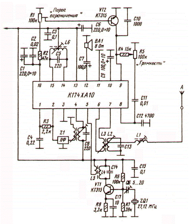
Принципиальная схема радиостанции на микросхеме К174ХА10 (27 МГц)
Схема простого СВ(525...1605 кГц)-УКВ(87,5...108 МГц) приемника (K174XA10, K174X
Приемник радиоуправления 27 Мгц на микросхеме К174ХА2
Схема приемника радиоуправления на микросхеме К174ХА36А
Схема не сложного радиоприемника на микросхеме К174ХА10
Схема радиоприемника на микросхеме К174ХА10
Приемники СВ-ДВ на микросхемах
Микросхема к174ха10 схема включения: К174ХА10 - многофункциональная микросхема д
Простые схемы усилителей НЧ карманных приемников - Cхемы для радиолюбителей
К174ХА26 - Микросхемы для Радио и ТВ - МИКРОСХЕМЫ - Электронные компоненты (ката
К174УР7 / КФ174УР7 - Микросхемы для Радио и ТВ - МИКРОСХЕМЫ - Электронные компон
УКВ радио на микросхеме К174ПС1 - просто
К174ха10 описание и схема включения
К174ха10 описание и схема
К174ХА42 - однокристальный ЧМ радиоприемник